


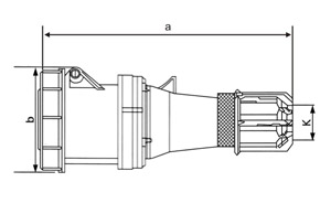
63Amp | 125Amp | |||||
Poles | 3 | 4 | 5 | 3 | 4 | 5 |
a | 260 | 260 | 260 | 305 | 305 | 305 |
b | 114 | 114 | 114 | 130 | 130 | 130 |
k | 36 | 36 | 36 | 50 | 50 | 50 |
sw | 61 | 61 | 61 | 81 | 81 | 81 |
Wire flexible [mm2] | 6-16 | 16-50 | ||||
創(chuàng)新探索,開創(chuàng)未來

郵箱:cee@cncee.com
電話:057762968788
傳真:0577-62994888
QQ:860025678